首 页
服务器托管
电信服务器托管
联通服务器托管
移动服务器托管
双线服务器托管
BGP服务器托管
服务器租用
电信服务器租用
联通服务器租用
移动服务器租用
双线服务器租用
BGP服务器租用
云服务器
价格计算购买
行业生态
软件供应商
渠道合作
合作伙伴
投资合作
帮助中心
常见问题
服务器租用托管
云服务
网站建设
服务协议
财务指南
售后服务
网站备案
建议反馈
备案进度查询
备案公共查询
关于我们
新闻动态
加入我们
关于我们
数据中心
便捷公益
联系我们
资质证书
友情链接
手机版
常见问题
服务器租用托管
云服务
网站建设
服务协议
财务指南
售后服务
网站备案
建议反馈
备案进度查询
备案公共查询
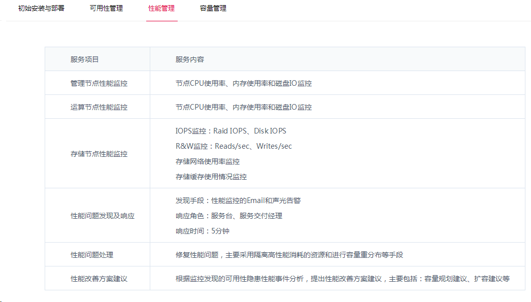
托管式私有云
托管式私有云
相比于公有云,企业对于私有云的困难不在于如何使用,而是建设与运维管理。便捷网络托管式私有云由私有云专家为用户提供一站式私有云方案咨询设计、实施部署、运维管理与扩容优化服务,帮助用户如同使用公有云一样使用私有云。
------分隔线----------------------------
[相关]
常州云主机、服务器租用服务
托管式私有云
数据中心、云服务灾备方案
江苏电信、联通、移动机房的大带宽租
SSL证书服务
七步购得物美价廉的云主机
等保合规评测服务
重要保障服务
BGP网络
IDC数据中心
云数据库Redis
云数据库 PostgreSQL
云数据库 MySQL
云数据库MongoDB
归档存储
私有网络 VPC
弹性公网IP
负载均衡 Load Balancing
托管云 CloudHosting
私有云 PrivateCloud
Copyright ©2009-2018.
便捷云
bjyun.cn 常州便捷网络科技有限公司 版权所有.All Rights Reserved. 互联网数据中心业务经营许可证:
苏B1.B2-20180135
工信部备案号:
苏ICP备09054575号